行业动态

了解最新公司动态及行业资讯

目前土壤热脱附存在的缺陷

2019-03-22 06:41:28 310 编辑:admin 来源:本站
     有机污染土壤修复一直是国际上的难点和热点研究课题。目前常用的土壤有机物 修复技术主要包括物理法、化学法和生物法等。其中土壤热脱附处理技术是一种比较成熟的有 机污染土壤处置技术,现已应用于土壤有机物修复的工程领域。土壤热脱附处理技术的原 理是利用加热土壤至污染物的沸点之上,将污染物从土壤中分离出来。通过再次高温氧化、 或尾气吸附等处理手段,将污染物去除,达到处理污染物的目的。 
污染土壤修复
   土壤热脱附技术能短时间内快速、高效净化高浓度的有机污染土壤,而且处理成本低 廉,被认为是最具潜力的土壤修复技术。但是污染土壤热脱附技术存在处理过程受污染土 壤的类型影响较大,对于粘性较大的土壤,热脱附过程中易于板结,影响处理效果,且处理 过程中耗能较大等问题。 
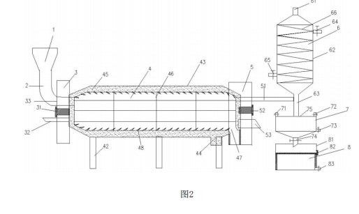
   鉴于现有土壤热脱附处理技术处理难于处理粘性土壤,且操作过程耗能较大的缺陷, 本实用新型拟通过利用热脱附过程中产生的余热,提高了污染土壤脱水处理效果,扩大了 进料土壤的适用范围,通过余热利用,降低设备的能源消耗率,降低处理成本,构架了一种 污染土壤脱水、破碎和余热利用一体化预处理装置,解决了现有热脱附技术易于造成土壤 板结和能耗较大问题。

30

装备制造经验

立即免费获取土壤修复方案

为用户提供及时、高效、便捷的服务

在线咨询
AG旗舰厅环境希望与你携手,共创美好未来...
5