公司动态

了解最新公司动态及行业资讯

沙漠化土壤治理方法

2017-10-30 02:11:37 228 编辑:admin 来源:本站
  目前,气候变暖、降水减少加剧了西北地区气候和土壤的干旱化。这使得该区的植被覆盖度降低,土壤结构变的更加松散,加速了土地的荒漠化。另外气候增暖,大范围气候持续干旱,给各种水资源 ( 冰川、湖泊、河流等 ) 带来严重影响,使冰川退缩、河流水量减少或断流、湖泊萎缩,地下水位下降。大面积的植被因缺水而死亡,失去了保护地表土壤功能,加速了土壤沙漠化速度。
  现有治理沙漠方法主要采用植树造林,但这种方法投入大、见效慢、周期长,且无法直接阻止土壤水分蒸发、流失,收效不大 ;还有地区使用喷膜、液态地膜等治理方法,但都只能在短时间内发挥作用,无法从根本上治理土壤沙漠化。沙漠化的土壤一般均为蒸发量大于降雨量,直接在沙漠化的土壤上种植植物,不仅起不到减少水分蒸发的作用,土壤的水分状况反而抑制了植物的生长和生存。
  中国专利“一种治理沙漠的方法”( 专利号 :CN02130859) 公开了一种治理沙漠的方法,利用人工草坪中切出种植孔,在种植孔中撒入土壤并栽种植物,以此起到保水、固沙、绿化的作用,但是使用人工草坪成本高,且人工草坪需定时更换,更换时影响植物生长,在种植孔中栽种植物,植物种植密度低,难以保证植物成活率。
  本发明的目的在于克服现有技术的不足并提供一种沙漠化土壤治理方法,利用生态植被毯与防护林交替铺设治理沙漠化土壤,可有效实现对沙漠化土壤的保水、固沙和绿化,成本低,见效快。
  一、技术方案为 :
  一种沙漠化土壤治理方法,包括如下步骤 :
  (1) 铺设植物带 :在沙漠化土壤上沿沙漠化土壤与植被交界处向沙漠方向铺设植物带,所述植物带由在沙漠化土壤上交替分布的生态植被毯与防护林构成,每处生态植被毯伸入沙漠化土壤 20m ~ 30m ;
  (2) 搭设木挡墙 :在植物带中每隔 40 ~ 60m 搭设防风沙木挡墙,木挡墙底端插入沙漠化土壤 20 ~ 50cm 深,两边用铁丝固定 ;
  (3) 开设生态植被沟和蓄水池 :从沙漠化土壤与植被交界处向沙漠方向每隔 30 ~50m开设一条宽40~60cm的穿过植物带的生态植被沟,沿生态植被沟在每公顷沙漠化土壤上开设 1 ~ 2 个长宽高为 3m*3m*3m ~ 10m*10m*8m 的蓄水池,生态植被沟与蓄水池相连,生态植被沟与蓄水池上均铺设有支撑木板,相邻两块支撑木板间的距离为 5 ~ 20cm,支撑木板上铺设生态植被毯 ;生态植被沟长度长出植物带 0.5 ~ 1m ;
  (4) 铺设水管 :在每两条生态植被沟之间向沙漠方向铺设 2 ~ 4 条管径为 3 ~ 5cm的水管,水管穿过木挡墙并通过木挡墙固定在植物带上 ;所述水管上每隔8~12m设置一个喷头,水管靠近植被的一端连接有水泵,水泵抽水管伸入临近的蓄水池中 ;
  (5) 后期管护 :对铺设完成的植物带进行后期管护,前 3 ~ 4 个月除阴、雨天外每天早、中、晚各开启水泵洒水一次,阴天上午、下午洒水各一次,3 ~ 4 个月后除雨天外每天洒水一次直至防护林成活,然后填埋蓄水池和生态植被沟,拆除并回收木挡墙、支撑木板、水管、喷头、水泵和抽水管。
  所述防护林的宽度为 5 ~ 10m,防护林内种植耐干旱植物,耐旱型植物植株的行距为 1 ~ 3m,株距为 1 ~ 3m。
  所述耐干旱植物为柏树、柽柳、胡杨、国槐、白蜡树、杜梨或法国梧桐。
  所述木挡墙由 10 ~ 20cm 宽、2 ~ 3cm 厚、1.2 ~ 2m 高的的木板紧密铺设组成。
  所述生态植被毯的规格为 1m*10m、2m*10m、3m*10m、4m*10m 或 5m*10m。
  所述生态植被毯由上网、植物纤维层、带草种的营养土、衬纸以及下网从上至下依次铺设而成。
  所述上网、下网均为孔径 1.5cm*1.5cm ~ 2cm*2cm 规格的植物纤维网。
  所述植物纤维层由稻麦秸秆、棕榈、椰丝、玉米秆制成。
  所述营养土内添加有保水剂和缓释肥,营养土内草种密度为 300 ~ 400 粒 /m2。
  所述草种为百喜草、紫花苜蓿、马蹄金、马尼拉草、结缕草或狗牙根的草种。
  由上述技术方案可知,本发明提供的沙漠化土壤治理方法在沙漠化土壤上铺设由生态植被毯与防护林交替铺设、种植组成的植物带,并在植物带上安装木挡墙,随后开设生态植被沟与蓄水池,在生态植被沟与蓄水池上铺设支撑木板与生态植被毯,在植物带上铺设带喷头的水管,水管与水泵连接,水泵的抽水管伸入蓄水池,生态植被沟、蓄水池、水泵、抽水管、水管和喷头构成灌溉系统,最后对铺设好的植物带进行后期管护。
  生态植被毯与防护林交替铺设,高低植物互相搭配,土地得以充分利用 ;防护林可有效起到防风固沙的作用,保护生态植被毯免受风沙掩埋,提高生态植被毯中草种成活率 ;生态植被毯中草种可在一周内发芽,一个月内长成幼苗,3 个月内生长成熟,短期内即可初步治理沙漠化土壤,防护林中植株存活后即可彻底治理植物带覆盖的沙漠化土壤。
  在沙漠化土壤上铺设生态植被毯,沙漠化土壤中蒸发的水分通过生态植被毯时被生态植被毯中的衬纸以及营养土吸收,有效阻绝沙漠化土壤中的水分蒸发到空气中,同时
  避免沙漠化土壤被阳光直接暴晒,有效减少沙漠化土壤中水分的蒸发 ;生态植被毯中营养土上铺设植物纤维层,植物纤维层吸收的雨水或露水可根据自身重力慢慢渗入营养土中,为营养土中草种生长提供水分,同时避免营养土中水分蒸发至空气中 ;植物纤维层由稻麦秸秆、棕榈等废弃植物纤维组成,上网、下网也均为植物纤维网,植物纤维可自然降解,腐烂后成为腐殖质可直接被草种幼苗吸收利用,对环境无污染。
  铺设木挡墙可有效阻挡风沙,在植物带内种植的植株成活前保护植株免受风沙掩埋,提高植株成活率。
  生态植被沟、蓄水池、水泵、抽水管、水管和喷头构成灌溉系统,其中生态植被沟和蓄水槽可在暴雨天气起到迅速排水和蓄水的作用,蓄积的雨水在干旱季节用于灌溉 ;采用喷灌的方式对草种及植株幼苗进行灌溉,减少灌溉用水量,并且劳动强度低 ;生态植被沟与蓄水池上铺设支撑木板,支撑木板上铺设生态植被毯,生态植被毯可有效减少生态植被沟与蓄水池中蓄积的雨水的蒸发,支撑木板间的空隙确保下雨时雨水渗入生态植被沟与蓄水池 ;拆除并回收的木挡墙、支撑木板、水管、喷头和水泵可重复利用,节约沙漠化土壤治理成本。
  二、与现有技术相比,本发明的有益效果为 :
  本发明提供的沙漠化土壤治理方法,使用的材料对环境无污染 ;该方法实施一次即可达到沙漠化土壤治理效果,草种及防护林植株长成后可彻底改变土壤沙漠化的情况,治理彻底 ;生态植被毯的生产以及植物带灌溉均可实现机械化,节省时间和劳动力 ;治理过程中使用的器具均可拆卸并回收,节约沙漠化土壤治理成本 ;该方法见效快、周期短、易操作、治理成本低,种植的植被成活率高,并且后期易管护。
  三、附图说明
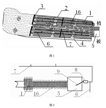
沙漠化土壤治理方法治理示意图沙漠化土壤治理方法治理示意图
  图 1 为沙漠化土壤治理方法治理示意图。
  图 2 为沙漠化土壤治理方法灌溉系统示意图。
  图 3 为生态植被毯结构示意图。
  其中,1- 生态植被毯,2-- 防护林,3- 木挡墙,4- 生态植被沟,5- 蓄水池,6 水管,7- 喷头,8- 水泵,9- 抽水管,10- 草种,11- 植物纤维上网,12- 植物纤维层,13- 营养土,14- 衬纸,15- 植物纤维下网,16- 支撑木板。

30

装备制造经验

立即免费获取土壤修复方案

为用户提供及时、高效、便捷的服务

在线咨询
AG旗舰厅环境希望与你携手,共创美好未来...
5